宁忠岩:团体赛登上领奖台真的比我在单项拿到奖牌还要兴奋
谁将夺冠?F1官方晒22位车手大合影,新赛季两周后揭幕
美国五大联盟薪资:大谷翔平7000万!梅西2040万、塔图姆6280万
冬奥多项雪上赛事改期:苏翊鸣坡面障碍决赛提前至北京时间18:20
米兰冬奥会“规模最大、最活跃的志愿者群体之一”来自中国
外国记者提问谷爱凌丢掉两金,谷爱凌回击:我觉得这种想法很荒谬

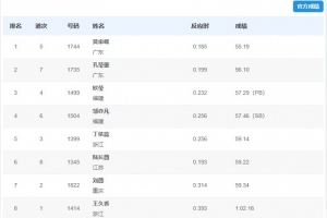
体育资讯11月17日讯 全运会田径女子400米栏决赛,莫家蝶以55秒19的成绩夺得金牌,孔莹蓥获得银牌,欧莹获得铜牌。
女子400米栏决赛成绩详情如下:
1 莫家蝶 55.19
2 孔莹蓥 56.10
3 欧莹 57.29(PB)
4 邹亦凡 57.46(SB)
5 丁依蕊 59.14
6 陆长薇 59.22
7 刘薇 59.34
8 王久香 1:02.16